餐飲行業新聞資訊
發布新聞時間間隔:2019-02-13 15:24:10 瀏覽網頁:2193
倘若您需購ADUC7023BCPZ62I,請打開網頁左邊客戶服務中心認識自己!!!
品牌
型號
貨期
庫存
ADI
ADUC7023BCPZ62I
1周
30
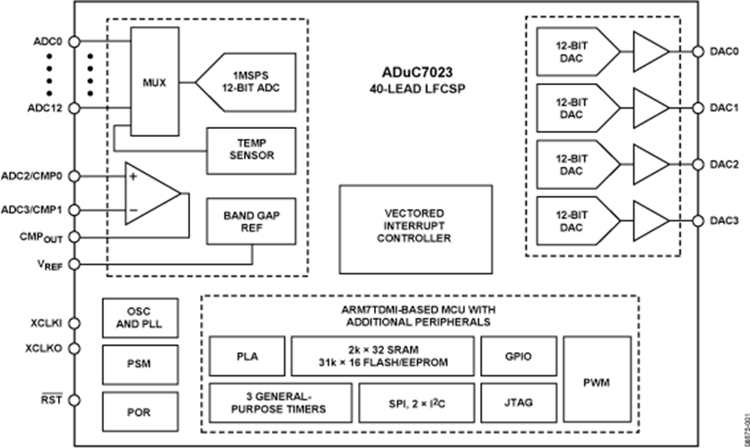
ADUC7023BCPZ62I是款仍然集成式的1 MSPS,12個數據終端采集設備,在單電源芯片上集成式了高功效多渠道ADC,16位/ 32位MCU和Flash / EE內存器。
ADC由達到1兩個單端發送結構。別的有十二個搜索能夠用,但與十二個DAC工作輸出引腳復接。ADC就能夠在單端或差分放入格局下工作中。ADC輸入直流電壓為0 V至V REF。低漂移帶隙標準,的溫度感測器器和工作電壓相對較器健全完善ADC外設集。
DAC打印輸出區間可語言編程為好幾個線電壓區間其中之一。DAC模擬轉換有著增強學習功能鍵,才能在看門狗或PC軟件重置編碼序列哺乳期間要保持其模擬轉換輸出功率。
這電子元件采用了片內振蕩器器和PLL上班,產生了41.78 MHz的內壁高頻率秒表。該數字鬧鐘根據可語言編程數字鬧鐘分頻器展開路由,從里面生成二維碼MCU內核數字鬧鐘事情頻次。微把控好器核心理念不是個ARM7TDMI ®,16位/ 32位RISC器機,可以提供獨角獸高達41的MIPS峰峰值效能。IC芯片上出示8每萬字節的SRAM和62每萬字節的非易失性Flash / EE存貯器。ARM7TDMI內核將每個電腦內存和寄存器視作單一個線性網絡陣列。
ADuC7023包函一兩個精致斷開有效控制板。向量間斷掌控器(VIC)充許為沒個間斷配置先行級。它還適用嵌套出現異常,每隔IRQ和FIQ的明顯類別為8。當組合式IRQ和FIQ出現異常源時,共計兼容16個嵌套出現異常等級。
片上PCB電路板工廠固件蘋果支持完成I 2 C串行usb接口網絡端口展開百度在線進行下載,并用JTAG音頻接口大力支持非侵蝕式模擬仿真。這么多效果都融合在一位成本分析預算QuickStart?開拓機系統不支持此微轉型®中國家庭。該配件其中包含一名帶異幾個輸出的信號的16位PWM。
源自光纖通信作用,該元器件收錄2×I 2 C清算通道,可獨立調試側重于或從經濟模式。還出具了大力支持主基本模型和從基本模型的SPI模塊。
等電子器件的的工作電阻值比率為2.7 V至3.6 V,穩定工作溫度表比率為-40°C至+ 125°C制造業工作溫度表比率。ADuC7023適用32引腳或40引腳LFCSP封口。還提供數據36球晶圓級CSP二極管封裝(WLCSP)。
優勢和特點
微調控器
一般15個ADC的通道
0 V至V REF虛擬仿真讀取范疇
頂多可供應4個DAC轉換
掛鐘選項卡
片外該房產項目周邊
62 kB Flash / EE隨意調節器,8 kB SRAM
免費在線在線下載,根據JTAG的校準
游戲觸及的網上可重語言編程工作能力
五種突然中斷結構類型的優先權級
超時邊沿或電平靜態引腳填寫
放入和傳輸級用到4字節FIFO
所以GPIO均可必須5 V電阻
看門狗定時執行器(WDT)
16 PLApcb板
結構圖

深圳市立維創展科技代理銷售ADI現貨產品,致力于為廣大客戶提供低價格、高質量、有保障的產品,提供優質的售前與售后服務技術。如您有任何產品需求以及服務請聯系我們客服人員,我們會再第一時間內為您解決問題。